RHS
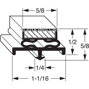
GASKET, 8' BLACK -SV/GJ-
| LIST PRICE | $ 29.00 | ||
| YOUR PRICE | $ 29.00 | ADD TO CART | |
RHS Part #: 02-156
| IN STOCK: | CA | YES |
| CO | YES |
PRODUCT INFORMATION
PROP 65 Warning












