BALLY
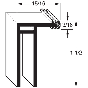
SWEEP, 36" GASKET THRESHOLD
| LIST PRICE | $ 35.00 | ||
| YOUR PRICE | $ 35.00 | ADD TO CART | |
MFR Part #: 016611
RHS Part #: 06-029
RHS Part #: 06-029
| IN STOCK: | CA | Est Days 3 |
| CO | YES |
PRODUCT INFORMATION
PROP 65 Warning












