TRUE
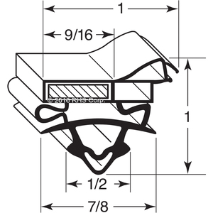
GASKET, 22-3/4" X 59-3/4" AIR
| LIST PRICE | $ 191.71 | ||
| YOUR PRICE | $ 191.71 | ADD TO CART | |
MFR Part #: 966067
RHS Part #: 61-755
RHS Part #: 61-755
| IN STOCK: | CA | YES |
| CO | YES |
PRODUCT INFORMATION
PROP 65 Warning












