TURBO AIR
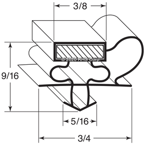
GASKET, 16-1/2" X 25" OD, 4S
| LIST PRICE | $ 55.20 | ||
| YOUR PRICE | $ 55.20 | ADD TO CART | |
MFR Part #: KR23300107
RHS Part #: 67-392
RHS Part #: 67-392
| IN STOCK: | CA | YES |
| CO | YES |
PRODUCT INFORMATION
PROP 65 Warning












